cybermad
Clan Leader
- Modelo
- Z3 2.8 / GR86
- Registrado
- 11 Feb 2008
- Mensajes
- 108.260
- Reacciones
- 95.024
Artículo original en inglés https://www.autoguide.com/auto/manu...rsche-plans-to-keep-combustion-alive-44613226
Una nueva patente muestra cómo Porsche planea mantener viva la combustión
17 de septiembre de 2024
El departamento de investigación de AutoGuide ataca de nuevo: esta vez descubre un nuevo concepto de motor de Porsche que podría aportar enormes mejoras tanto en eficiencia como en densidad de potencia.
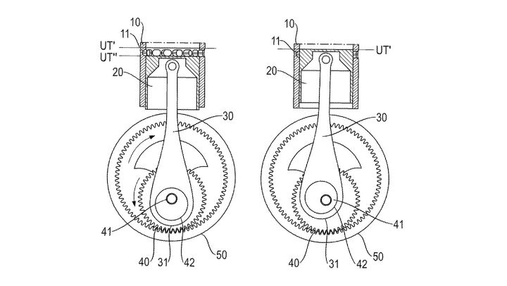
Porsche ha presentado una solicitud de patente ante la USPTO (número de solicitud 18/585.308) para un diseño de motor innovador que se describe como de "dos tiempos por tres", desarrollado en colaboración con la Universidad Técnica de Cluj-Napoca en Rumania. La solicitud, en realidad, reclama prioridad sobre una solicitud de patente alemana que Porsche presentó en febrero de este año.
El motor propuesto cuenta con un mecanismo de cigüeñal único que se mueve dentro de un anillo (anillo), lo que produce un movimiento similar al de un espirógrafo de juguete. A diferencia de los motores convencionales, la rotación del cigüeñal crea dos puntos muertos superiores (TDC) y dos puntos muertos inferiores (BDC) diferentes durante el ciclo.
Este motor completa un ciclo completo con un giro de 1080° del cigüeñal, funcionando efectivamente como un ciclo de seis tiempos. Sin embargo, también se caracteriza por tener dos procesos de tres tiempos, cada uno de los cuales incluye un tiempo de potencia y uno de compresión. Las seis fases del ciclo del motor son:
1) Admisión
2) Compresión
3) Poder
4) Compresión
5) Poder
6) Escape
Durante este ciclo, el pistón alcanza el PMS más alto entre el segundo y el tercer tiempo, y nuevamente entre el cuarto y el quinto. Alcanza un PMS más bajo entre el sexto y el primer tiempo. El PMI se encuentra entre el primer y el segundo tiempo, y nuevamente entre el quinto y el sexto, con un PMI más bajo durante la fase de barrido entre el tercer y el cuarto tiempo.
La disposición de los cilindros es fundamental para la implementación de este método. Incluye un pistón conectado a una rueda planetaria a través de una biela. La rueda planetaria se acopla a un anillo y gira dentro de él, conectada al cigüeñal. La disposición excéntrica única del elemento de conexión en la rueda planetaria permite que el pistón alcance los puntos muertos especificados en diferentes posiciones, lo que facilita el ciclo de seis tiempos.
El cilindro también cuenta con puertos y válvulas de barrido que controlan el flujo de la mezcla de aire y combustible y los gases de escape. El sistema también puede incluir mecanismos para ajustar la relación de compresión y la sincronización, optimizando aún más el proceso de combustión. Es posible que la fase de barrido adicional pueda incluso ayudar a aumentar la eficiencia de los e-combustibles sintéticos, o incluso ayudar en la combustión del hidrógeno. El hidrógeno es conocido por su volatilidad, lo que también permite que el combustible se queme con mezclas de aire y combustible extremadamente pobres; de hecho, el hidrógeno puede funcionar con un valor Lambda superior a 2,00, y he oído hablar de él hasta con un valor Lambda de 7,00.
Se afirma que el diseño produce más potencia que un motor tradicional de cuatro tiempos debido a la carrera de potencia adicional, al tiempo que ofrece una combustión más limpia que un motor de dos tiempos. La configuración es flexible y puede incluir varios cilindros, idealmente en múltiplos de tres, lo que permite adaptarla a varios diseños de motor, como configuraciones en línea, en V, en W o planas/boxer.
Una nueva patente muestra cómo Porsche planea mantener viva la combustión
17 de septiembre de 2024
El departamento de investigación de AutoGuide ataca de nuevo: esta vez descubre un nuevo concepto de motor de Porsche que podría aportar enormes mejoras tanto en eficiencia como en densidad de potencia.
Porsche ha presentado una solicitud de patente ante la USPTO (número de solicitud 18/585.308) para un diseño de motor innovador que se describe como de "dos tiempos por tres", desarrollado en colaboración con la Universidad Técnica de Cluj-Napoca en Rumania. La solicitud, en realidad, reclama prioridad sobre una solicitud de patente alemana que Porsche presentó en febrero de este año.
El motor propuesto cuenta con un mecanismo de cigüeñal único que se mueve dentro de un anillo (anillo), lo que produce un movimiento similar al de un espirógrafo de juguete. A diferencia de los motores convencionales, la rotación del cigüeñal crea dos puntos muertos superiores (TDC) y dos puntos muertos inferiores (BDC) diferentes durante el ciclo.
Este motor completa un ciclo completo con un giro de 1080° del cigüeñal, funcionando efectivamente como un ciclo de seis tiempos. Sin embargo, también se caracteriza por tener dos procesos de tres tiempos, cada uno de los cuales incluye un tiempo de potencia y uno de compresión. Las seis fases del ciclo del motor son:
1) Admisión
2) Compresión
3) Poder
4) Compresión
5) Poder
6) Escape
Durante este ciclo, el pistón alcanza el PMS más alto entre el segundo y el tercer tiempo, y nuevamente entre el cuarto y el quinto. Alcanza un PMS más bajo entre el sexto y el primer tiempo. El PMI se encuentra entre el primer y el segundo tiempo, y nuevamente entre el quinto y el sexto, con un PMI más bajo durante la fase de barrido entre el tercer y el cuarto tiempo.
La disposición de los cilindros es fundamental para la implementación de este método. Incluye un pistón conectado a una rueda planetaria a través de una biela. La rueda planetaria se acopla a un anillo y gira dentro de él, conectada al cigüeñal. La disposición excéntrica única del elemento de conexión en la rueda planetaria permite que el pistón alcance los puntos muertos especificados en diferentes posiciones, lo que facilita el ciclo de seis tiempos.
El cilindro también cuenta con puertos y válvulas de barrido que controlan el flujo de la mezcla de aire y combustible y los gases de escape. El sistema también puede incluir mecanismos para ajustar la relación de compresión y la sincronización, optimizando aún más el proceso de combustión. Es posible que la fase de barrido adicional pueda incluso ayudar a aumentar la eficiencia de los e-combustibles sintéticos, o incluso ayudar en la combustión del hidrógeno. El hidrógeno es conocido por su volatilidad, lo que también permite que el combustible se queme con mezclas de aire y combustible extremadamente pobres; de hecho, el hidrógeno puede funcionar con un valor Lambda superior a 2,00, y he oído hablar de él hasta con un valor Lambda de 7,00.
Se afirma que el diseño produce más potencia que un motor tradicional de cuatro tiempos debido a la carrera de potencia adicional, al tiempo que ofrece una combustión más limpia que un motor de dos tiempos. La configuración es flexible y puede incluir varios cilindros, idealmente en múltiplos de tres, lo que permite adaptarla a varios diseños de motor, como configuraciones en línea, en V, en W o planas/boxer.
Las cerves las pago yo , da igual quien gane)
